VTC/LW支架NIKKO日工科技Bekistat
-
-
- 型号VTC/LW支架NIKKO日工科技Bekistat
- 品牌VTC/LW支架NIKKO日工科技Bekistat
详细描述
VTC/LW支架NIKKO日工科技Bekistat
NIKKO日工科技Bekistat
VTC/LW支架
BRD8-OR
- 商品名
- BRD8-OR
- 形状及特征
- 纽带的橙色类型
- 材质
-
涤纶
不锈钢 - 尺寸
- 外径1.6mm
- 抗拉强度
- 约100N
- 电阻
- 100~200ω/ m
- 一卷长
- 10米和100米
- 推荐的设置场所
- 适合安装在2m左右的生产线上的类型。 视认性优异,即使在黑暗的场所也很醒目。

BRD8
TP1
- 商品名
- TP1
- 形状及特征
- 宽幅且抗拉强度强的类型
- 材质
-
涤纶
不锈钢 - 尺寸
- 宽度4.0mm厚度0.5mm
- 抗拉强度
- 约220N
- 电阻
- 70~90Ω/m
- 一卷长
- 20米
- 推荐的设置场所
- 抗拉强度比其他类型强,因此请用于设置宽度宽(2m以上)的环境。
- 商品名
- BRD8
- 形状及特征
- 纽带的灰色类型
- 材质
-
涤纶
不锈钢 - 尺寸
- 外径1.6mm
- 抗拉强度
- 约100N
- 电阻
- 100~200ω/ m
- 一卷长
- 10米和100米
- 推荐的设置场所
- 适合安装在2m左右的生产线上的类型。
电阻根据绳子上施加的张力而变动。 张力为0时较大,张力较大时较小。
-
水平固定型
图:水平固定型的设置示例(照片为ATC-H30/LW )
ATC- HXX
水平固定型
ATC- HXX/LW
水平固定型(带导线)
“XX”是Bekistat的保持高度( mm )。 订购时,请从20、30、40、50、60 mm中选择。
例:高度30mm带导线时→ ATC-H30/LW
水平固定型尺寸图
| 类型 | a | b | h1 | h2 |
|---|---|---|---|---|
| ATC- H20 | 44毫米 | 25毫米 | 21毫米 | 26毫米 |
| ATC- H30 | 31毫米 | 36毫米 | ||
| ATC- H40 | 41毫米 | 46毫米 | ||
| ATC- H50 | 51毫米 | 56毫米 | ||
| ATC- H60 | 61毫米 | 66mm |
-
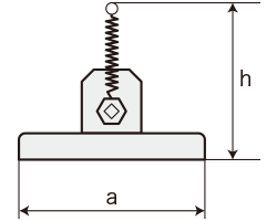
垂直固定型
图:垂直固定型和水平固定型并用设置示例(照片为VTC/LW )
VTC
垂直固定型
VTC/LW
垂直固定型(带导线)
垂直固定型尺寸图类型 a h VTC 44毫米 50毫米 VTC/LW支架NIKKO日工科技BekistatNIKKO日工科技BekistatVTC/LW支架

VTC/LW支架NIKKO日工科技Bekistat
NIKKO日工科技Bekistat
VTC/LW支架
NIKKO日工科技Bekistat
分享到:
上一条:TI-56L超声波厚度计JFE川铁 下一条:VTC支架NIKKO日工科技Bekistat

